宣布时间:2021-10-26点击:15075
硬度是指质料对抗局部变形,特殊是塑性变形、压痕或划痕的能力。它是权衡质料软硬的指标。维氏硬度、布氏硬度、洛氏硬度比照表分享给你,快收藏起来吧!
常用HV=HB=HRC硬度比照表




本表数据来自德国标准DIN50150。
是指质料对抗局部变形,特殊是塑性变形、压痕或划痕的能力。它是权衡质料软硬的指标。
按测试要领的差别,硬度分为三种类型。
①划痕硬度。主要用于较量差别矿物的软硬水平,要领是选一根一端硬一端软的棒,将被测质料沿棒划过,凭证泛起划痕的位置确定被测质料的软硬。定性地说,硬物体划出的划痕长,软物体划出的划痕短。
②压入硬度。主要用于金属质料,要领是用一定的载荷将划定的压头压入被测质料,以质料外貌局部塑性变形的巨细较量被测质料的软硬。由于压头、载荷以及载荷一连时间的差别,压入硬度有多种,主要是布氏硬度、洛氏硬度、维氏硬度和显微硬度等几种。
③回跳硬度。主要用于金属质料,要领是使一特制的小锤从一定高度自由着落攻击被测质料的试样,并以试样在攻击历程中贮存(继而释放)应变能的几多(通过小锤的回跳高度测定)确定质料的硬度。
金属质料***常见到的布氏硬度、洛氏硬度和维氏硬度属于压入硬度,硬度值体现质料外貌对抗另一物体压入时所引起的塑性变形的能力;回跳法(肖氏、里氏)丈量硬度,硬度值代表金属弹性变形功效的巨细。
布氏硬度 Brinell Hardness用直径D的淬火钢球或硬质合金球作压头,以响应的试验力F压入试件外貌,经划定的坚持时间后,卸除试验力,获得一直径为d的压痕。用试验力除以压痕外貌积,所得值即为布氏硬度值,符号用HBS或HBW体现。

HBS和HBW的区别是压头的差别。HBS体现压头为淬硬钢球,用于测定布氏硬度值在450以下的质料,如软钢、灰铸铁和有色金属等。HBW体现压头为硬质合金,用于测定布氏硬度值在650以下的质料。
同样的试块,当其它试验条件完全相同的情形下,两种试验效果差别,HBW值往往大于HBS值,并且并无定量的纪律所循。
2003年以后,我国已经等效接纳国际标准,作废了钢球压头,所有接纳硬质合金球头。因此HBS阻止使用,所有用HBW体现布氏硬度符号。许多时间布氏硬度仅用HB体现,指的就是HBW。不过在文献论文中HBS仍时有所见。
布氏硬度丈量法适用于铸铁、非铁合金、种种退火及调质的钢材,不宜测定太硬、太小、太薄和外貌不允许有较大压痕的试样或工件。
洛氏硬度 Rockwell Hardness用锥顶角为120°的金刚石圆锥或?1.588mm和?3.176mm淬火钢球作压头和载荷配合使用,在10kgf初载荷和60、100或150kgf力总载荷(即初载荷加主载荷)先后作用下压入试样,在总载荷作用后,以卸除主载荷而保存主载荷时的压入深度与初载荷作用下压入深度之差来体现硬度。

洛氏硬度试验接纳三种试验力,三种压头,它们共有9种组合,对应于洛氏硬度的9个标尺。这9个标尺的应用涵盖了险些所有常用的金属质料。常用的有HRA、HRB和HRC三种,其中HRC应用***广。

HRC标尺的使用规模是20~70HRC。当硬度值小于20HRC时,由于压头的圆锥部分压入太多,迅速度下降,这时应改用HRB标尺;当试样硬度大于67HRC时,压头尖端遭受的压力过大,金刚石容易损坏,压头寿命会大大缩短,因此一样平常应改用HRA标尺。
洛氏硬度试验操作轻盈、迅速、压痕小,可测试制品外貌及较硬、较薄的工件。因压痕小,关于组织和硬度不匀称的质料,硬度值波动较大,准确性不如布氏硬度高。洛氏硬度用于测定钢铁、有色金属、硬质合金等的硬度。
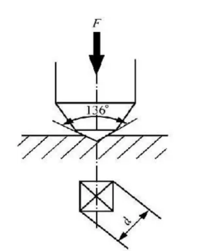
维氏硬度 Vickers Hardness维氏硬度丈量原理与布氏硬度相似。接纳相扑面夹角为136°金刚石正四棱锥压头,以划定的试验力F压入质料的外貌,坚持划准时间后卸除试验力,用正四棱锥压痕单位外貌积上所受的平均压力体现硬度值,标记符号为HV。

维氏硬度丈量规模大,可丈量硬度为10~1000HV规模的质料,压痕小,一样平常用来丈量较薄的质料和渗碳、渗氮等外貌硬化层。
里氏硬度 Leeb Hardness用一定质量的装有碳化钨球头的攻击体,在一定力的作用下攻击试件外貌,然后反弹。由于质料硬度差别,撞击后的反弹速率也差别。在攻击装置上装置有永磁质料,当攻击体上下运动时,其外围线圈便感应出与速率成正比的电磁信号,再通过电子线路转换成里氏硬度值,符号标记为HL。
里氏硬度仪无需事情台,其硬度传感器小如一只笔,可用手直接操作,无论是大、重型工件照旧几何尺寸重大的工件都能容易地检测。
里氏硬度另外一个优点是对产品外貌损伤很轻,有时可作为无损检测;对各个偏向,窄小空间及特殊部位硬度测试具有奇异性。
泉源:金属质料的天下
免责声明:本站部分图片和文字泉源于网络网络整理,仅供学习交流,版权归原作者所有,并不代表我站看法。本站将不肩负任何执法责任,若是有侵占到您的权力,请实时联系ag官方电子平台删除。